ДТ
Доступен для скачивания
краткий каталог продукции:
Датчики-реле тяги предназначены для регулирования вакуумметрического давления.
Применяются в автоматических и автоматизированных системах контроля и управления.
Являются аналогами датчиков реле серии РУМД (по сравнению с серией РУМД габаритные размеры уменьшены не менее чем в 5 раз, масса – в три раза).
Разработанные датчики-реле имеют информационную шкалу настройки.
Технические характеристики:| Параметр | ДТ-2,5 |
ДТ-40
| ||
| Пределы уставок |
0…300 кгс/м²
0…3 кПа
|
4…250 кгс/м²
0,04…2,5 кПа
|
40…4000 кгс/м²
0,4…40 кПа
|
4…40 кгс/м²
0,04…0,4 кПа
|
| Давление перегрузки |
1000 кгс/м² 10 кПа |
8000 кгс/м² 80 кПа | ||
| Величина зоны возврата | не более 10% от верхнего предела уставки
| |||
| Коммутируемая мощность:
- переменного тока - постоянного тока |
300 ВА
70 Вт | |||
| Напряжение:
- переменного тока - постоянного тока |
250 В 30 В | |||
| Климатическое исполнение | УХЛ3, Т3 | |||
| Рабочая среда
| воздух, газы и жидкости неагрессивные к алюминиевому сплаву АЛ-9 и маслостойкой резине | |||
| Условия эксплуатации
| −30…+50°C
(95±3)%RH при температуре +35°C вибрация частотой до 25 Гц, с амплитудой не более 0,1 мм | |||
| Аналог | ДЕ-57-2,5Т |
ДЕ-57-6Т
ДЕ-57-40Т
| ||
| Монтаж | Настенный, с помощью кронштейна | |||
| Габаритные размеры | ∅253×180 мм | ∅55×160 мм | ||
| Вес | ≤1900 г | ≤10 600 г | ||
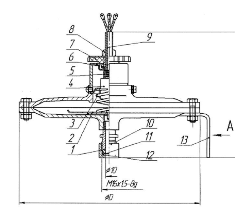
| Устройство датчика |
1 – штуцер; 2 – мембранный чувствительный элемент; 3 – настроечная пружина; 4 – микропереключатель; 5 – пружина; 6 – фиксирующая шайба; 7 – маховик; – гайка; 9 – втулка; 10 – гайка; 11 – заглушка; 12 – кольцо уплотнительное; 13 – кронштейн. |
Датчики-реле тяги ДТ-2,5 и ДТ-40 предназначены для установки на объект в вертикальном положении. Монтаж производится с помощью штуцера. В качестве уплотнения под штуцер применяются прокладки в виде шайб из свинца, фибры, кожи, мягкой меди и другое
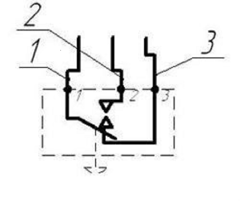
Подключение датчиков-реле в электрическую цепь производится проводами сечением 0,5 мм или 1,6 мм по электрической схеме, приведенной ниже
| Схема подключения датчика | ||||||||||||
|
Версия: 2021-02-17-КАМ